Pökomat P25/320Drucken
Baugruppenübersicht
Transportschlitte...
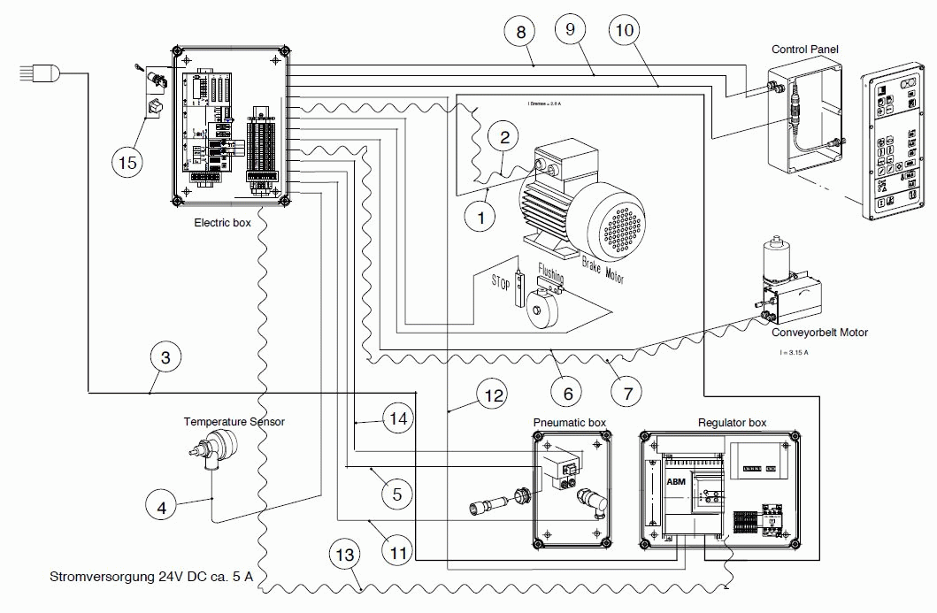
Stromführung
Zubehör
Vorschalttrafo
Bedientableau
Bedientableau Unt...
Pneumatikgehäuse...
Luftwarteeinheit...
Reglergehäuse
Steuertableau
Steuergehäuse
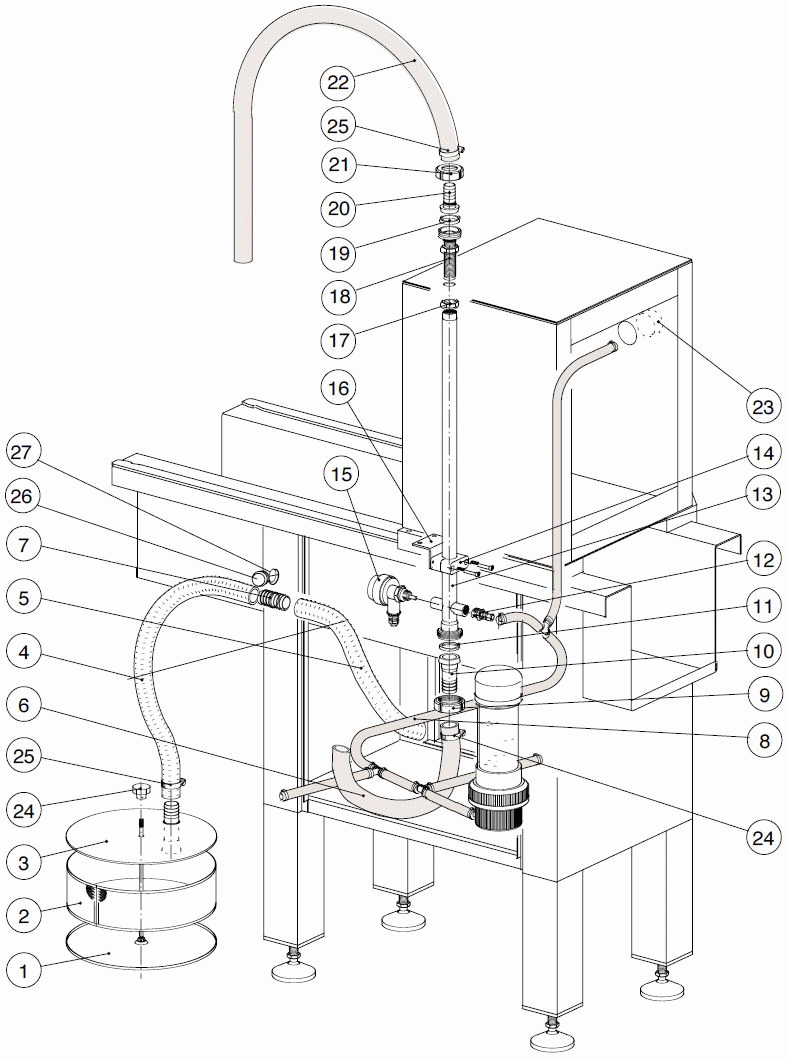
Rücklauffilter
Lakeführung
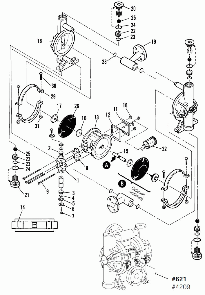
Membranpumpe
Einbau Membranpum...
Gehäuse
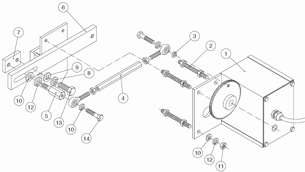
Transportschlitte...
Vorschub & Rückla...
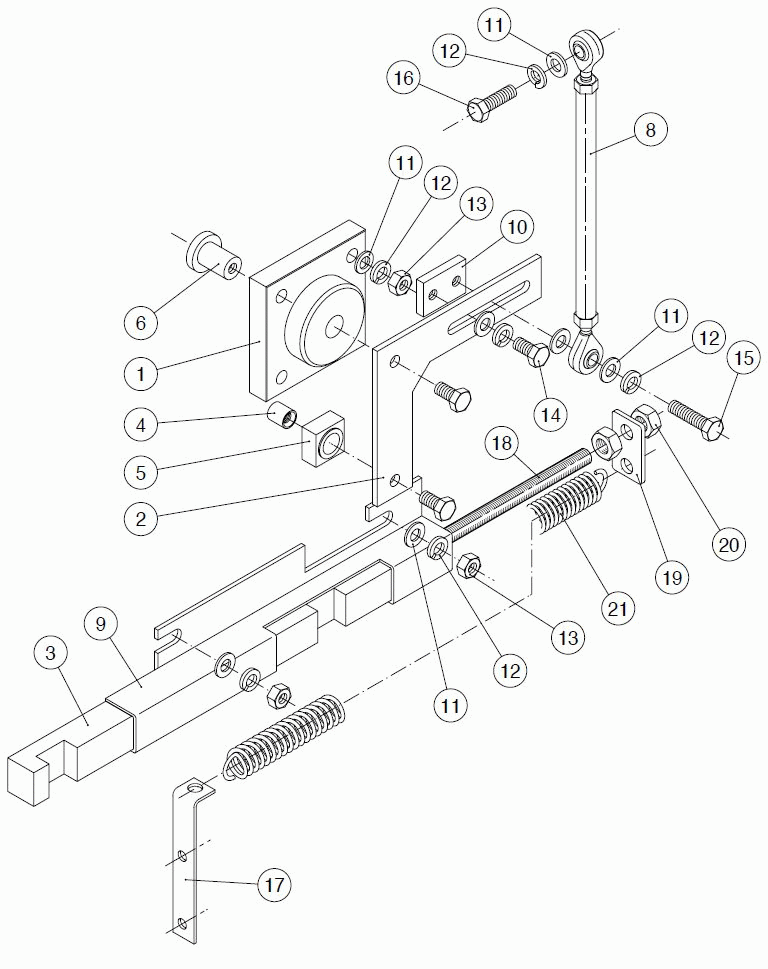
Vorschubgestänge...
Vorschub-Verstell...
Vorschubantrieb
Abschaltautomatik...
Antriebseinheit
Verteilrohr
Nadelführung
Nadelschlitten
Kurbeltrieb
Schutzhaube
Fussgestell
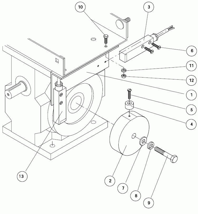
Explosionszeichnung: Einbau Membranpumpe
Ersatzteile - Stückliste: // Pökomat P25/320 // Einbau Membranpumpe
| Pos. | Menge | Benennung | Teilenummer | Bemerkung | Anzahl |
|---|
| Keine Teile vorhanden |
0 Artikel