Pökomat P8/270 (T-Füße)Drucken
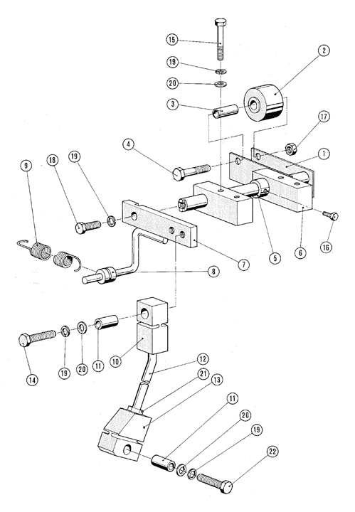
Explosionszeichnung: Vorschubantrieb
Ersatzteile - Stückliste: // Pökomat P8/270 (T-Füße) // Vorschubantrieb
| Pos. |
Menge |
Benennung |
Teilenummer |
Bemerkung |
Anzahl |
|
1 |
Schubstange komplett |
01672 |
Pos. 10,12,13,21 |
|
| 1 |
1 |
Wippe |
01255 |
|
|
| 2 |
1 |
Rolle |
01256 |
|
|
| 3 |
1 |
Büchse |
01257 |
|
|
| 4 |
1 |
Sechskantschraube |
01262 |
|
|
| 5 |
2 |
Stellring |
00586 |
|
|
| 6 |
2 |
Lagerblock |
00553 |
|
|
| 7 |
1 |
Schwinghebel |
01293 |
|
|
| 8 |
1 |
Büchse |
01322 |
|
|
| 9 |
1 |
Zugfeder |
00588 |
|
|
| 10 |
1 |
Gelenk |
01294 |
|
|
| 11 |
2 |
Lagerbüchse |
00594 |
|
|
| 12 |
1 |
Schubstange |
01301 |
|
|
| 13 |
1 |
Gelenk |
01295 |
|
|
| 14 |
1 |
Sechskantschraube |
05086 |
|
|
| 15 |
4 |
Sechskantschraube |
05088 |
|
|
| 16 |
2 |
Sechskantschraube |
05003 |
|
|
| 17 |
1 |
Mutter |
05243 |
|
|
| 18 |
1 |
Sechskantschraube |
05025 |
|
|
| 19 |
7 |
Federring |
05295 |
|
|
| 20 |
6 |
U-Scheibe |
05280 |
|
|
| 21 |
1 |
Mutter |
05236 |
|
|
| 22 |
1 |
Sechskantschraube |
05085 |
|
|