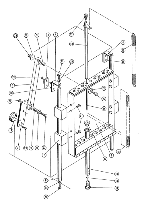
Explosionszeichnung: Fussgestell
Ersatzteile - Stückliste: // Pökomat P9/270 // Fussgestell
| Pos. |
Menge |
Benennung |
Teilenummer |
Bemerkung |
Anzahl |
| 2 |
1 |
Fussgestell fahrbar |
02574 |
|
|
| 3 |
1 |
Fussgestell fahrbar |
02575 |
|
|
| 4 |
1 |
Fussgestell fest vorne |
02571 |
|
|
| 5 |
1 |
Fussgestell fest hinten |
02628 |
|
|
| 6 |
1 |
Schutzblech |
02566 |
|
|
| 7 |
1 |
Überlaufstopfen |
01285 |
|
|
| 8 |
2 |
Rad |
01332 |
|
|
| 9 |
2 |
Distanzbüchse |
02692 |
|
|
| 10 |
2 |
Büchse |
01273 |
|
|
| 11 |
2 |
Bodengleiter |
02693 |
|
|
| 12 |
2 |
U-Scheibe |
01140 |
|
|
| 13 |
2 |
6kant-Schraube |
05094 |
|
|
| 14 |
18 |
Federring |
05295 |
|
|
| 15 |
6 |
Mutter |
05235 |
|
|
| 16 |
15 |
6kant-Schraube |
05024 |
|
|
| 20 |
1 |
Rücklaufsack |
01284 |
|
|
| 21 |
1 |
Haltebügel |
01313 |
|
|