Pökomat P12-270Drucken
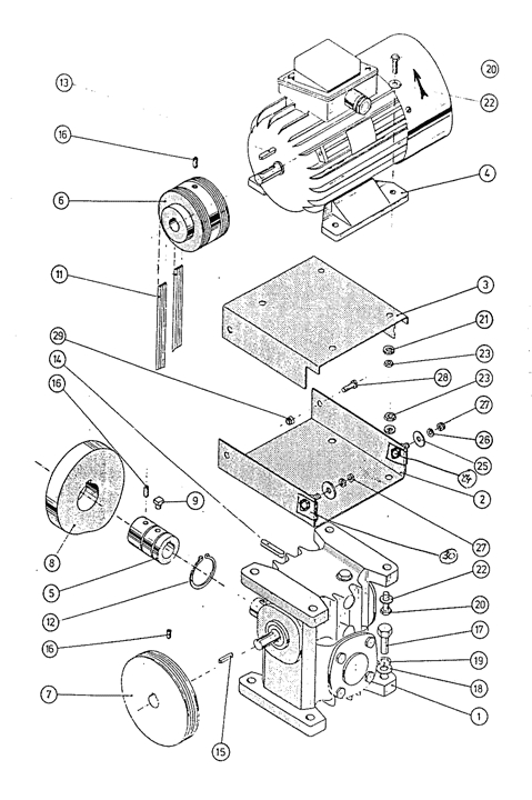
Explosionszeichnung: Fussgestell
Ersatzteile - Stückliste: // Pökomat P12-270 // Fussgestell
| Pos. |
Menge |
Benennung |
Teilenummer |
Bemerkung |
Anzahl |
|
1 |
Rücklauffilter |
01284 |
Extra – Zubehör |
|
|
1 |
Haltebügel |
01313 |
Extra – Zubehör |
|
| 1 |
2 |
Grundprofil |
01272 |
|
|
| 2 |
1 |
Konsole links |
01310 |
|
|
| 3 |
1 |
Konsole rechts |
01311 |
|
|
| 4 |
1 |
Schutzblech |
01228 |
|
|
| 5 |
2 |
Bodengleiter |
01274 |
|
|
| 6 |
2 |
Büchse |
01273 |
|
|
| 7 |
2 |
Rad |
01332 |
|
|
| 8 |
2 |
Sechskantschraube |
05089 |
|
|
| 9 |
12 |
Sechskantschraube |
05025 |
|
|
| 10 |
8 |
Sechskantschraube |
05024 |
|
|
| 11 |
2 |
Sechskantschraube |
05027 |
|
|
| 12 |
2 |
Mutter |
05235 |
|
|
| 13 |
14 |
Federring |
05295 |
|
|
| 14 |
2 |
U-Scheibe |
05288 |
|
|
| 15 |
1 |
Überlaufstopfen |
01285 |
|
|
| 16 |
4 |
U-Scheibe |
05280 |
|
|