Pökomat P13/270Drucken
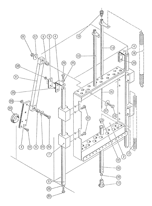
Explosionszeichnung: Vorschub und Rücklaufsperre
Ersatzteile - Stückliste: // Pökomat P13/270 // Vorschub und Rücklaufsperre
| Pos. |
Menge |
Benennung |
Teilenummer |
Bemerkung |
Anzahl |
|
1 |
Vorschub kompl. |
01289 |
|
|
| 2 |
1 |
Freilaufbüchse |
01302 |
|
|
| 3 |
1 |
Deckel |
01248 |
|
|
| 4 |
1 |
Freilaufhülze |
01349 |
|
|
| 5 |
1 |
Anlaufscheibe |
01249 |
|
|
| 6 |
1 |
Kupplungsbüchse |
01325 |
|
|
| 7 |
1 |
Seegerring |
05476 |
|
|
| 8 |
1 |
Sprengring |
01250 |
|
|
| 9 |
1 |
Simmerring |
05432 |
|
|
| 10 |
1 |
Dichtring |
05343 |
|
|
| 11 |
1 |
6kabt.-Schraube |
05002 |
|
|
| 12 |
1 |
O-Ring |
05360 |
|
|
| 13 |
1 |
Schlingfederkupplung |
01252 |
|
|
| 14 |
1 |
Scheibe |
01254 |
|
|
| 15 |
1 |
Kupplungsbüchse |
01253 |
|
|
| 16 |
1 |
Mitnehmerbolzen |
01326 |
|
|
| 17 |
1 |
Verdrehsicherung |
01255 |
|
|
| 18 |
1 |
U-Scheibe |
01140 |
|
|
| 19 |
1 |
6kabt.-Schraube |
05025 |
|
|